1. 简介
1.1 七氟丙烷(HFC-227ea)灭火剂具有清洁(在大气中完全汽化不留残渣)、低毒(无毒性反应浓度NOAEL=9%)、良好电绝缘性、灭火效率高、不破坏大气臭氧层(对臭氧层的耗损潜能值ODP=0,温室效应潜能值GWP=0.6,大气中存留寿命ALT=31年)的特点,是替代卤代烷灭火剂的洁净气体中的较优者。
七氟丙烷的灭火机理与卤代烷系列灭火剂的灭火机理相似,属于化学灭火的范畴,通过灭火剂的热分解产生含氟的自由基,与燃烧反应过程中产生支链反应的H+、OH-、O2-活性自由基发生气相作用,从而抑制燃烧过程中化学反应来实施灭火。
七氟丙烷灭火系统适用于以全淹没灭火方式扑救电气火灾、液体火灾或可熔固体火灾、固体表面火灾、灭火前能切断气源的气体火灾,保护计算机房、通讯机房、变配电室、精密仪器室、发电机房、油库、化学易燃品库房及图书库、资料库、档案库、金库等场所。
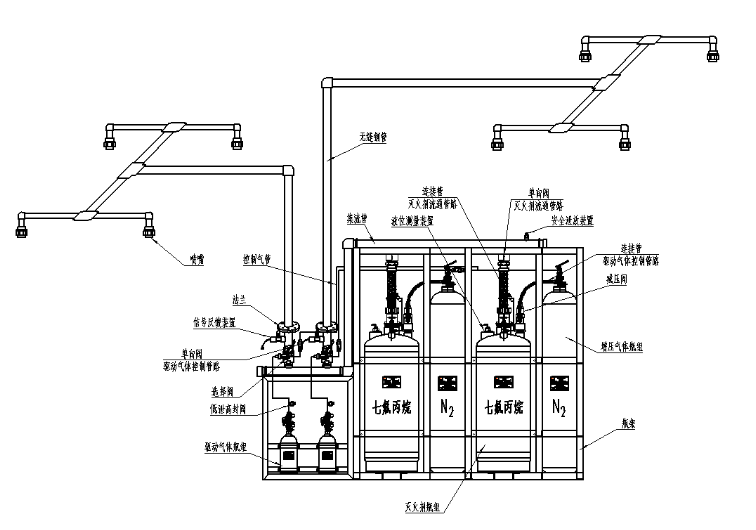
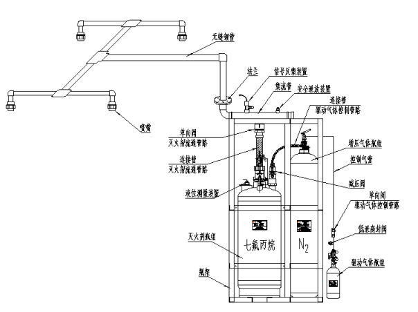
1.2 外贮压式七氟丙烷灭火系统是将七氟丙烷灭火剂和增压氮气分别贮存于不同的瓶组内,启动时把增压氮气充入灭火剂瓶组,使灭火剂瓶组内的压力迅速升高,推动灭火剂高速通过管路系统及喷嘴,实施喷放灭火。
由于灭火剂和增压氮气分别贮存于不同瓶组,不存在氮气溶解于灭火剂的现象,在灭火剂输送过程中不会释放氮气,避免了气囊和双相流现象的发生。氮气推动液态七氟丙烷灭火剂在管路中以单相流体流动,其流动性能得以优化。
平时灭火剂瓶组内的压力仅为灭火剂的饱和蒸汽压,瓶组的充装密度可大大提高;通过增压气体定值减压装置输出的压力和增压氮气量的适当配置,可显著提高管路末端喷嘴的入口压力,以较小通径的管道输送更远的距离,并改善灭火剂喷放的雾化效果以增强灭火效果。
不适用于扑救硝化纤维、硝酸纳等氧化剂或含氧化剂的化学制品火灾,钾、镁、钠、钛、锆、铀等活泼金属火灾,氢化钾、氢化钠等金属氢化物火灾,过氧化氯、联胺等能自行分解的化学物质火灾,可燃固体物质的深位火灾。
本系统充装的灭火剂在灭火时会分解产生一定量的氟化氢气体,高浓度氟化氢气体可能对人员造成伤害。
2. 主要性能参数
系统类别 | 4.2MPa外贮压系统 | 5.6MPa外贮压系统 |
瓶组规格 | 90/120/150/180(L) | 90/120/150/180(L) |
灭火剂瓶组贮存压力 | 0.3MPa | |
灭火剂瓶组工作压力 | 4.2MPa | 5.6MPa |
灭火剂瓶组最大工作压力(+50℃) | 5.3MPa | 8.0MPa |
增压气体瓶组充装压力(+20℃) | 13.5MPa | |
增压气体瓶组最大工作压力(+50℃) | 15MPa | |
驱动气体瓶组充装压力(+20℃) | 6MPa | |
驱动气体瓶组最大工作压力(+50℃) | 6.6MPa | |
电磁驱动装置启动电源 | DC24V/1.5A | |
灭火剂最大充装密度 | 1250Kg/m3 | |
灭火剂最大喷放时间 | 10s | |
工作温度范围 | 0℃~50℃ | |
灭火剂瓶组喷放剩余量 | ≤2Kg/瓶组 | |
启动方式 | 电磁自动启动、手动启动、机械应急启动 | |
3. 结构示意图
3.1单元独立系统
指由一套灭火剂瓶组保护一个防护区的系统形式。
3.2 组合分配系统
用一套灭火剂瓶组通过多个选择阀的选择,保护多个(最多8个)防护区的系统形式。

4. 控制流程图

5. 主要部件
5.1 灭火剂瓶组
5.1.1. 用途:
用于储存七氟丙烷灭火剂,具有封存、释放、充装、超压泄放、液位测量等功能。
5.1.2. 结构:
由容器阀、虹吸管、减压装置、液位测量装置、储存容器组成。增压气
5. 主要部件
5.1 灭火剂瓶组
5.1.1. 用途:
用于储存七氟丙烷灭火剂,具有封存、释放、充装、超压泄放、液位测量等功能。
5.1.2. 结构:
由容器阀、虹吸管、减压装置、液位测量装置、储存容器组成。增压气体进入减压装置经减压后注入瓶组内,同时通过管路气动打开容器阀释放灭火剂。
5.1.3. 主要技术参数:
工作压力 | 型号规格 | 容积 | 容器阀型号 | 公称通径 (mm) | 减压阀额定 输出压力MPa | 等效长度 (m) | 外径 (mm) | 高度 (mm) |
4.2 MPa | QMP90/4.2 | 90 L | QRF50/5.3W | 50 | 4.20-0.42 | 10.89 | 416 | 1190 |
QMP120/4.2 | 120 L | 11.12 | 416 | 1420 | ||||
QMP150/4.2 | 150 L | 11.37 | 470 | 1460 | ||||
QMP180/4.2 | 180 L | 11.35 | 520 | 1440 | ||||
5.6MPa | QMP90/5.6 | 90 L | QRF50/8.0W | 50 | 5.60-0.56 | 10.89 | 416 | 1190 |
QMP120/5.6 | 120 L | 11.12 | 416 | 1420 | ||||
QMP150/5.6 | 150 L | 11.37 | 470 | 1460 | ||||
QMP180/5.6 | 180 L | 11.35 | 520 | 1440 |
5.1.4. 使用说明:
a.外观检查:应无碰撞变形及其他机械性损伤,表面应无锈蚀,保护涂层应完好,铭牌应清
晰;
b.压力表:特别说明:灭火剂瓶组正常贮存情况下,因为内部只是贮存的纯七氟丙烷纯灭火
剂,灭火剂在液态贮存时自然压力值为 0.3-04MPa 之间压力,普通机械表指针无法显示出来实
际压力值,灭火剂瓶组是靠液位测量装置连接报警箱来作检测的,平时不以压力值为检测作
为标准,靠压力不能确定灭火剂泄漏与否,平时灭火剂瓶组上那个压力表只有在喷放时才有
压力显示,显示动力瓶氮气经过减压后进入灭火剂瓶组内的实际压力值,具体可看企业标准,
外贮压设备属技术鉴定产品,参照各企业标准,这种产品不是内贮压产品原理不同。
c. 每五年进行一次全面检查维修,包括强度试验、密封性试验、动作试验等,更换密封
件及其他易损件等。
5.1.5. 维护说明:
1)每月进行两次检查,检查内容及要求应符合下列规定:
a.外观检查:应无碰撞变形及其他机械性损伤,表面应无锈蚀,保护涂层应完好,铭牌应清晰;
b.压力表指针:不应掉出表盘绿区,否则需补气或全面检查、充装。
2)每五年进行一次全面检查维修,包括强度试验、密封性试验、动作试验等,更换密封件及其他易损件等。
5.1.6. 注意事项:
1)在运输过程中不得横卧,不得利用减压阀、容器阀、压力启动器或连接管路作为对瓶组的施力工具点或握持点;
2)在安装过程中不得利用瓶组及瓶组上的外凸部件作为攀登、垫脚的工具。
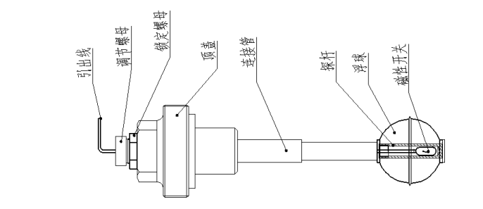
5.2 液位测量装置
5.2.1 用途:
液位测量装置安装在灭火剂瓶组上,用于测量灭火剂的泄漏量,当泄漏量达到充装质量的5%时无源触点闭合,输出信号至气体灭火控制器启动声光报警,提醒相关人员处理。
5.2.2 结构:
由探杆及其上的磁性开关、连接管、顶盖、锁定螺母、调节螺母和引出线构成。
5.2.3 主要技术参数:
型号 | 最大测量高度 |
QYJ600 | 600mm |
5.2.4 安装使用说明:
1)按照灭火剂的充装质量计算大概液面高度,调节好探杆的位置让磁性开关在当前液面动作,在这
个位置做好标记;
2)按照 0.177kg/mm(90L/内径 400mm)、0.224kg/mm(120L、150L/内径 450mm)或 0.276kg/mm(180L/内径 500mm)计算 5%的灭火剂充装质量所对应的液位降低高度,把探杆调节到相应位置并做好标志。
3)对每个瓶组配套有灭火剂泄露报警器检测,判定合格方可正常使用。先打开报警器后盖螺丝, 如下图(图一和图二)所示按瓶组编号对应 PCB 板上贴好序号接线,每个报警器可以检测 20 个灭火剂瓶组。
5.2.5维护说明:
4)每月应进行外观检查,无碰撞变形及机械性损伤、表面无锈蚀方可继续使用;
2)每五年进行一次全面检查维修,包括动作试验等,更换密封件及其他易损件等。
5.3 增压气体瓶组
5.3.1.用途:
用于贮存增压气体(高压氮气),电动或手动启动,释放增压气体通过灭火剂瓶组的减压阀注入灭火剂瓶组,待瓶组内压力上升到4.2MPa即打开压力启动器,通过管路气动打开容器阀释放灭火剂。具有封存、释放、充装、压力显示等功能。
5.3.2. 结构:
由容器阀、贮存容器组成。贮存容器为可重复充装的无缝钢质气瓶。容器阀由阀体、启动装置、活塞、安全泄放装置等组成,安装在贮存容器瓶口上可气动、手动开启容器阀释放增压气体,阀体材质为铜合金。
5.3.3. 主要技术参数:
型号规格 | 充装压力(+20℃) | 最大工作压力(+50℃) | 容器阀型号 | 公称通径 | 外径 | 高度 |
QZP70/15 | 13.5MPa | 15MPa | HRF12/17.2 | 12mm | 280mm | 1700mm |
5.3.4. 使用说明:
紧急情况下,可拔出启动座上的保险销、压下手柄打开容器阀释放氮气。
5.3.5. 维护说明:
1)每月进行两次外观检查,应无碰撞变形及其他机械性损伤,表面应无锈蚀,保护涂层应完好,铭牌应清晰,手动操作装置的防护罩、铅封和安全标志应完整。
2)每五年进行一次全面检查维修,包括强度试验、密封性试验、动作试验等,更换密封件、膜片及其他易损件等。
5.3.6. 注意事项:
容器阀上的保险销是用于锁定凸轮拨杆的,仅在机械手动启动容器阀时必须先拉出保险销才能扳下凸轮拨杆,而锁定凸轮拨杆并不影响容器阀的气动启动。
5.4 驱动气体瓶组
5.4.1.用途:
用于贮存启动气体(高压氮气),电动或手动启动,释放启动气体打开选择阀、增压气体瓶组、灭火剂瓶组,具有封存、释放、充装、压力显示等功能。
5.4.2. 结构:
由启动容器阀和启动气体贮存容器组成,启动容器阀的材质为铜合金,刀片和膜片材质为不锈钢,贮存容器是可重复充装的钢质无缝容器。该装置具有结构精巧动作可靠,驱动电流小的特点。
5.4.3. 主要技术参数:

5.4.4. 使用说明:
1)压力表应朝向操作面,电气连接线应沿固定瓶组或驱动装置的支架、框架及墙面固定,应有对应防护区或保护对象名称或编号的永久性标志。
2)电磁铁的两根引线不分极性。
3)紧急情况下,可拉出安全卡簧、压下手动压把即可打开启动容器阀。
5.4.5. 维护说明:
1)每月进行外观检查,无碰撞变形及机械性损伤、表面无锈蚀、保护涂层完好、安全卡簧及铅封完整方可继续使用。
2)压力检测时,需逆时针松开压力表开关,压力表即可显示容器内的压力,然后须关上开关、拧松压力表,使压力表复零位。当压力表指针掉出表盘绿区时需补气或全面检查、充装。
3)充装启动氮气时,应卸下压力表接上气源,再逆时针松开压力表开关即可充装。充装完毕,关闭压力表开关,装上压力表并固紧。
5.4.6. 注意事项:
启动容器阀上装有安全销是为防止运输、安装、调试过程中因碰撞、震动等使闸刀误动作而设。系统投入使用前,需抽出安全销,否则启动容器阀不能打开。
5.5电磁型驱动装置
5.5.1. 用途:
安装驱动气体瓶组的容器阀上,用于控制驱动气体瓶组启动释放。
5.5.2. 结构:
由手动顶块、保险销、电磁铁组件、顶刀、弹簧等组成,阀体材质为铜合金。
5.5.3. 主要技术参数:
型号规格 | 电磁元件 | 驱动力 | 击穿装置 |
QDQ75 | 直流干式阀用电磁MFZ1-7.5 | 75N | 刺破针 |
5.5.4. 使用说明:
1)电磁铁的两根引线不分极性;
2)安装后应仔细逐
产品推荐

